Class公稱尺寸
NPS外形尺寸/mm公稱壓力
Class公稱尺寸
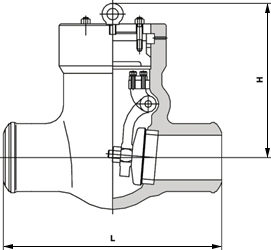
NPS外形尺寸/mmLHLH15002 ?25428220002 ?3302403305325336830544063504457315548342555334096559450661046587114908762528108645401091461312991650121041660141067710141118745表中未列出的其他規格參數,請咨詢汗越閥門技術部!

磅級電站止回閥結構圖

磅級電站止回閥

如果你需訂購我廠電站閥系列產品,咨詢時煩請說明公稱通徑、公稱壓力、材質、連接端執行標準、使用介質及介質溫度等,本產品安裝時,閥軸宜置于水平位置,首次運行時,壓力自密封圈預緊螺柱和承壓法蘭連接螺柱應進行熱緊,應定期檢查閥體與閥蓋等連接處的密封情況,發現泄漏應及時采取措施。

上一條:磅級電站截止閥

下一條:高溫高壓止回閥